單吸泵也被稱為單級單吸離心泵,單級單吸離心泵的按照結構可以分為懸架式單級單吸離心泵和單級單吸管道離心泵,單級單吸離心泵型號為IH(IS)單級單吸離心泵,單級單吸管道離心泵型號為CZL單級單吸立式管道離心泵、CZW臥式管道離心泵。下面講解單吸泵的結構和優缺點。
單吸泵的結構
懸架式單級單吸離心泵結構

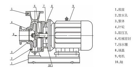
懸架式單級單吸離心泵如下圖所示。單級是指泵軸上安裝了一個葉輪,單吸是指從葉輪的一側進水。葉輪安裝在泵軸的一端被稱為懸架式單級單吸離心泵。從圖中可以看出單吸泵結構可以分為前開門式單級單吸懸臂式離心泵和后開門式單級單吸懸臂式離心泵。前開門式單級單吸離心泵的結構可以分為很多配件,分別是1.泵蓋2.泵體3.密封環4.螺母5.葉輪6.鍵7.泵軸8.填料9.填料壓蓋10.擋水圈11.軸承蓋12.單列向心球軸承13.托架14.定位套15.擋套16.壓夜室17.吸液室等配件構成。后開門單級單吸離心泵的結構由1.泵體2.葉輪螺母3.止動墊圈4.密封環5.葉輪6.泵蓋7.軸套8.水封環9.軟填料10.壓蓋11.托架12.泵軸等配件構成。
單級單吸管道離心泵結構

從懸架式單級單吸離心泵和單級單吸管道離心泵結構圖中可以清楚的看出,單級單吸管道離心泵和懸架式單級單吸離心泵相比,單級單吸管道離心泵取消了懸架和軸承、聯軸器、聯軸器罩、軸和底座的長度也縮小很多,很大程度的減少生產制造成本。單級單吸離心泵結構緊湊,單級單吸立式管道離心泵占地面積小,減少用戶的投資成本,市場潛力巨大。
單級單吸管道離心泵的泵蓋通過止口被固定在連接架上,分別通過泵體和電機連接,電機底腳和泵體底腳被固定在一個公共底座上。
單級單吸臥式管道離心泵采用后開門式結構,用戶維修時只需把泵體和泵蓋的連接螺母以及電機地腳螺栓擰下即可,不需要移動泵體和進出口管路就能把電機、連接架、泵蓋和轉子部件從泵內取出,維修操作相當便捷。
單級單吸臥式離心泵使用模塊化標準設計,全系列共有21個基本型號和102種規格的泵型、16個連接架、7個泵軸、26個毛坯,零件通用性能強。
單級單吸管道離心泵采用優秀的水力模型,泵體與葉輪均采用標準規格生產安全可靠。
單級單吸離心泵的核心零部件是泵軸,泵軸是緊湊型結構。泵軸可以在工作時傳遞扭矩,還能通過螺釘和電機軸固定。泵軸的一端固定在葉輪上,另一端與電機軸等徑的不通孔和電機相連,裝配時起到定位的作用。
單級單吸管道離心泵對中精度高調整時比較方便。
市面上存在一種直連式單級單吸離心泵,這種結構的泵型和單級單吸管道離心泵都是從懸架式單級單吸離心泵延伸而來,兩者略有差異。單級單吸管道離心泵是由電機軸和泵軸兩根軸連接,電機符合我國標準,直連式單級單吸離心泵和電機共用一根軸,電機軸可以根據泵型進行定制,定制的電機價格比普通電機略高,成本會有所增加。
單級單吸管道離心泵取消了懸架部件,運轉時產生的負荷有電機軸承承受。大部分軸向力通過雙口環與葉輪平衡孔進行平衡,剩余的部分軸向力由電機軸承承受,所有的徑向載荷由電機軸承承受。經過前期的試運行試驗表面電機軸承溫度應該在正常范圍內使用。
離心泵的主要配件之一是葉輪,是對液體作功的主要部件。葉輪的尺寸和外形是通過水力計算得出的,一般由兩個圓形蓋板和蓋板之間的若千片彎曲的葉片和輪毅構成,葉輪被固定在輪毅上,輪毅中間有穿軸孔和泵軸相連。
泵殼是主要的固定部件,泵殼通常鑄成蝸殼形。可以收集來自葉輪的液體,把液體的動能轉化為靜壓能,然后把液體均勻地導出排出口。泵殼上設有充水和放氣的螺孔,便于單吸泵啟動前用來充水和排走泵內的空氣。泵殼的底部設有放水孔,便于停車檢查時排出泵內的積液。
填料盒是常用的軸封裝置,在單級單吸離心泵中,假如沒有使用軸封裝置,泵殼里會有高壓水大量往外泄露。常見的壓蓋填料盒由5個配件構成,分別是軸封套、填料、水封環、水封管和填料壓蓋。
泵座起到固定離心水泵的作用。泵座上有螺栓孔,泵座的橫向槽底設有泄水孔,可以隨時排出填料盒內流入的滲漏水。泵殼上面設有充水與放氣的螺孔,假如單吸離心泵運行中暫時停用,可以用帶有螺紋的絲堵堵住。
單吸泵的優缺點
|
類型 |
優點 |
缺點 |
|
懸架式單級單吸離心泵 |
全系列水力性能范圍廣;前開門式和后開門式結構,檢修時無需移動泵體與管路維修便捷;單吸泵本身軸承可以承受徑向力和部分軸向力,軸封可以采用機械密封或者填料密封;使用時性能穩定可靠。 |
結構比較復雜,體積比單級單吸管道離心泵大,占地空間也大。 |
|
單級單吸管道離心泵 |
結構緊湊占地面積少;后開門結構,檢修時無需移動泵體和管路,維修便捷;泵軸比懸架式單級單吸離心泵短,轉動時徑向圓跳動量小;不需要須對中;使用性能穩定可靠;價格便宜。 |
彈性聯軸器連接單吸泵和電機,后期維護成本較高,泵軸加工工藝要求高。 |
單吸泵的結構和優缺點由離心泵廠家總結。


IH(IS) 不銹鋼化工離心泵
IHF系列氟塑料襯里離心泵
FSB型氟塑料合金離心泵
