水泵是將原動機的機械能或者其他外部能量傳送給液體,確保液體能量可以增加,主要可以用來泵送油、水、乳化液、酸堿液、液態金屬、懸乳液等等。水泵也能泵送液體和氣體混合物以及含有懸浮固體物的液體。水泵可以分為臥式安裝與立式安裝,這取決于用戶以及現場實際工況的需求。下面講解水泵安裝圖解。
基礎檢查
基礎坐標、尺寸、標高、預留孔洞應該符合設計要求。基礎表面應該平整、混凝土強度可以達到設備安裝要求。
1.循環水泵基礎的平面尺寸沒有隔振安裝時應該在水泵機組底座四周各流出100毫米~150毫米,有隔振安裝時應該在隔振基座四周各流出150毫米。基礎頂部標高沒有隔振安裝時應該高出泵房地面完成面100毫米以上,有隔振安裝時高出泵房地面完成面50毫米以上,并且不能形成積水。基礎外圍周邊沒有排水設置,便于維修時排水或者將漏水事故排除。
2.抽水泵基礎表面與地腳螺栓預留孔中的碎石、油污、積水、泥土等清除干凈。預埋地腳螺栓的螺紋與螺母應該保護完好。放置墊鐵部分的表面應該鑿平。
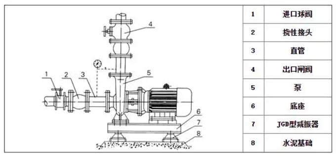
水泵安裝
把水泵放置在基礎上,可以用墊鐵把水泵找正找平。水泵安裝后同一組墊鐵應該焊在一起,防止受力時出現松動。
1.水泵沒有隔振安裝
潛水泵找正找平后,將地腳螺栓裝上。地腳螺栓二次灌漿時混凝土的強度應該比基礎高1級~2級,灌漿時應該搗實并且不應該使地腳螺栓傾斜與影響水泵機組的安裝精度。
2.水泵隔振安裝

臥式水泵隔振安裝
臥式水泵機組的隔振措施是在鋼筋混凝土基座或者型鋼基座下安裝橡膠減振器或者彈簧減振器。
立式水泵隔振安裝
立式水泵機組的隔振措施是在水泵機組底座或者鋼墊板下安裝橡膠減振器。
水泵機組底座與減振基座或者鋼墊之間使用剛性連接。
減振點或者減振器的型號規格、安裝位置應該符合設計要求。同一個基座下的減震器應該使用同一生產廠家的同一型號。
水泵機組在安裝減振器過程中需要使用防止水泵機組傾斜的措施。在水泵機組減振器安裝后,在安裝水泵機組進出水管道和配件以及附件時,需要使用避免水泵機組傾斜的措施來確保安全施工。


TSWA型臥式多級離心泵
LG、LG-B型-多級立式不銹鋼礦用多級離心泵
D型不銹鋼多級臥式離心泵
